- CAN Frame Analyzer/Exerciser機能のuCAN Viewユーティリティ
- uCANを直接プログラミングできるインターフェース(DLL)
- CAN最大通信速度1Mbps
- CAN2.0A/CAN2.0B互換
- 概要
- スペック
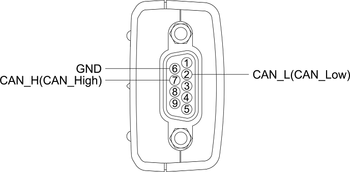
- ピンアサイン
- 外径寸法図
- ダウンロード
- 製品画像
概要
SystemBase「uCAN」は、PCからUSB経由でCANフレームを送受信するUSB-CANコンバーターです。
付属のWindowsユーティリティ「uCAN View」を使用すると、GUI環境でCANフレームの取得、分析、送信が可能です。CANフレームアナライザーとして使用できるほか、CANフレーム転送機能(Exerciser)により生成したCANフレームを他のCANデバイスに送信できます。さらに、提供されるDLLを活用することで、ユーザーは「uCAN」を直接制御するプログラムを開発できます。
HID(Human Interface Device)認識
「uCAN」は、PCに接続するとマウスやキーボードなどのHID(Human Interface Device)として認識され、Windows XP以降の環境ではドライバのインストール不要で即座に使用可能です。
uCAN View – Exerciser機能(テストCANフレーム送信)
Exerciser機能は、CANフレームを生成して他のCANデバイスに送信する機能です。最大4つのCANフレームを設定でき、1ms単位で同時自動転送が可能です。また、指定したCANフレームを受信した際に、ユーザーが事前に定義したCANフレームを自動応答する機能があり、Remote Frameに対するCANデバイスの動作を容易に分析できます。
uCAN View – アナライザー機能(CANフレーム分析)
「uCAN View」は、CANフレームを2つの表示方式で分析可能です。1つ目はキャプチャ順に表示する方式で、CANフレームの伝達順序を一目で把握できます。2つ目はID別に最新のCANフレームを表示する方式で、IDごとの更新内容を即座に確認できます。さらに、フィルタリング機能でID範囲(StandardまたはExtended)を指定して必要なCANフレームを表示でき、ソーティング機能で検出順またはID順に並べ替えて目的のフレームを簡単に見つけられます。
uCAN View – Error & Detail View
「uCAN View」は、TEC(Transmit Error Count)、REC(Receive Error Count)、LEC(Last Error Code)を確認でき、CANバスの状態を容易に把握可能です。また、CANフレームをダブルクリックすると、Frame Detail Viewが表示され、CANフレームフィールドをビット単位で詳細に分析できます。これにより、ビットレベルの直観的な解析が可能です。
USBバスインターフェース
| インターフェイス | USB Type A |
|---|---|
| 仕様 | USB Specification Rev 2.0, High-Speed |
| ケーブル長 | 0.6m |
CANバスインターフェース
| インターフェイス | DB9オス |
|---|---|
| 通信ポート数 | 1 |
| 通信速度 | 最大1Mbps |
| 信号線 | CAN H(7), CAN L(2) |
| 保護機能 | ±15KV 衝撃電気信号から自己保護 |
ソフトウェア
| ユーティリティ | uCAN View |
|---|---|
| OS | Windows XP/2003/Vista/2008/7/8/8.1/2012 (32/64bit) |
| 機能 | Filtering/Sorting/Exerciser/Response Function |
ハードウェア
| 電源 | USBバスパワー駆動 |
|---|---|
| 寸法 | 80(L) x 40(W) x 23(H) |
| 重量 | 50g |
動作環境
| 動作温度 | -40~85℃ |
|---|---|
| 保管温度 | -40~85℃ |
| 湿度 | 5~95% 非結露 |


ダウンロード (メーカー英語ウェブサイト)


